我公司還提供窄系列焊接鏈的附件,安裝在窄系列焊接鏈上可以使其具有不同的功能。同時,我們對這些附件也做了特殊強化處理,耐腐蝕和抗拉強度更高,可以更好的適應窄系列焊接鏈的使用環境。

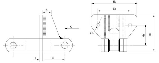
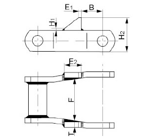
| Matching Chain No. | Chain Attachment Dimensions | |||||||
| H1(mm) | H2(mm) | E1(mm) | E2(mm) | d4(mm) | B(mm) | B1(mm) | T(mm) | |
| 55 | 110 | 95 | 135 | 10 | 66 | 32 | 10 | |

| Matching Chain No. | Attachment Dimension | ||||
| B(mm) | F(mm) | H(mm) | T(mm) | W(mm) | |
| 12.7 | 31.7 | 92.2 | 6.4 | 44.5 | |
| WH82 | 16 | 38 | 92.2 | 6.4 | 50.8 |

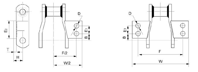
| Matching Chain No. | Attachment Dimensions | |||||||
| B(mm) | D(mm) | E1(mm) | E2(mm) | F(mm) | H(mm) | W(mm) | T(mm) | |
| 19.05 | 10.4 | 33.3 | 57.15 | 108.2 | 22.3 | 136.6 | 6.4 | |
| 22.4 | 10.4 | 49.3 | 76.2 | 133.6 | 26.6 | 162 | 9.5 | |
| 41.4 | 14.3 | 69.85 | 108 | 190.5 | 381 | 233.2 | 12.7 | |
| 41.4 | 14.3 | 69.85 | 106.5 | 190.5 | 44.45 | 233.2 | 12.7 | |
| 41.4 | 14.3 | 69.85 | 106.5 | 190.5 | 46 | 233.2 | 14.3 | |
| 44.45 | 14.3 | 63.5 | 101.6 | 203.2 | 47.75 | 242.8 | 16 | |

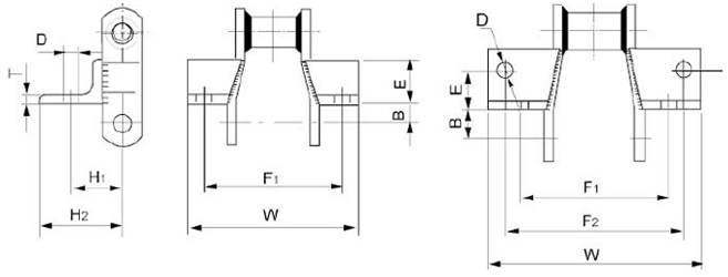
| Matching Chain No. | Attachment Dimension | ||||||||
| B(mm) | D(mm) | E(mm) | F1(mm) | F2(mm) | H1(mm) | H2(mm) | W(mm) | T(mm) | |
| 22.35 | 10.4 | 36.07 | 111.25 | 133.35 | 52.32 | 77.72 | 9.5 | 157.2 | |

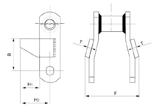
| Matching Chain No. | Attachment Dimension | ||||
| B(mm) | F(mm) | H1(mm) | H2(mm) | T(mm) | |
| 55.4 | 41.4 | 31.85 | 47.75 | 6.4 | |
| 69.1 | 54.9 | 28.7 | 47.75 | 9.5 | |

| Matching Chain No. | Attachment Dimension | ||||
| B(mm) | F(mm) | H1(mm) | H2(mm) | T(mm) | |
| 55.4 | 82.8 | 31.85 | 47.75 | 6.4 | |
| 69.1 | 109.8 | 28.7 | 47.75 | 9.5 | |

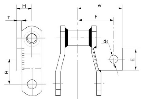
| Matching Chain No. | Attachment Dimension | ||||||
| B(mm) | d4(mm) | E(mm) | F(mm) | H(mm) | W(mm) | T(mm) | |
| 31.75 | 10.4 | 31.75 | 50.8 | 20.7 | 63.5 | 6.4 | |
| 38.1 | 10.4 | 44.45 | 53.1 | 22.3 | 69.85 | 6.4 | |

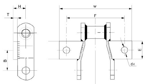
| Matching Chain No. | Attachment Dimension | ||||||
| B(mm) | d4(mm) | E(mm) | F(mm) | H(mm) | W(mm) | T(mm) | |
| 31.75 | 10.4 | 31.75 | 101.6 | 20.7 | 127 | 6.4 | |
| 38.1 | 10.4 | 44.45 | 106.2 | 22.3 | 139.7 | 6.4 | |

| Matching Chain No. | Attachment Dimension | ||||||
| B(mm) | E1(mm) | E2(mm) | F(min)(mm) | H(mm) | T(mm) | W(mm) | |
| 15 | 50 | 70 | 112.3 | 117 | 12 | 165 | |
| 15 | 50 | 70 | 118 | 120 | 15 | 170 | |

| Matching Chain No. | Attachment Dimension | ||||||
| B(mm) | E1(mm) | E2(mm) | F(min)(mm) | H1(mm) | H2(mm) | W(mm) | |
| 50 | 6 | 40 | 112.3 | 5 | 82 | 12.7 | |

| Matching Chain No. | Attachment Dimension | ||||
| B(mm) | E(mm) | T(mm) | F(mm) | W(mm) | |
| 52 | 48 | 12 | 86.4 | 30 | |
| 52 | 48 | 15 | 90.3 | 30 | |
Related Names
Metal Link Chain | Case Hardened Chain | Steel Bushing Chain


